微信掃碼
不僅是專業的導購
還是聊車的好伙伴
微信掃碼
不僅是專業的導購
還是聊車的好伙伴
隨車吊是由隨車起重機和底盤組合在一起的一種運輸車輛。是由起重臂、轉臺、機架、支腿等部分組成。通過變幅、伸縮、回轉、卷揚等機構的動作來實現隨車吊的機械動作,通過不同動作的組合實現起重作業。隨車吊一種集起重、運輸為一體的新型高效起重運輸裝備, 以其快速、靈活、高效、便捷以及裝卸、運輸合二為一的優勢被越來越多的用戶認識并接受。
隨車吊又分為兩種不同吊臂形勢的隨車吊,即折臂式隨車吊和直臂式隨車吊,下面湖北程力專用汽車有限公司銷售部為大家分別講講直臂式隨車吊與折臂式隨車吊結構特點:
一、直臂式隨車吊結構特點介紹:

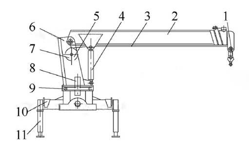
圖1 直臂式隨車吊
1.吊鉤 2.吊臂總成 3.鋼絲繩 4.變幅液壓缸 5.卷筒機構 6.立柱 7.旋轉接頭
8.回轉支承 9.橫梁組 10.支腿機構及控制系統
直臂式隨車吊是吊臂以下部分橫置在汽車駕駛室與汽車車廂之間, 吊臂縱置車廂之上。
直臂式隨車吊車廂中貨物不能超過吊臂高度。

圖2 直臂式隨車吊的吊臂結構示意圖
直臂式隨車吊吊臂通常由固定臂和幾節伸縮臂組成,吊臂結構見圖2。只有2節或1節伸縮臂的吊臂,伸縮臂的伸出與縮回靠液壓缸推動, 多節伸縮臂的伸出與縮回依靠裝在吊臂內部的液壓缸和鋼絲繩共同作用, 前2節伸縮臂依次伸出和縮回, 通過鋼絲繩牽引的伸縮臂同時伸出和縮回。
直臂式隨車吊吊臂長, 液壓缸行程長, 較折臂式隨車吊的加工難度大, 成本高。
直臂式隨車吊吊臂伸縮液壓缸裝在吊臂內部,出現同樣故障時, 須將吊臂拆出, 液壓缸拆出,工作量很大, 十分麻煩。對于大噸位的隨車吊伸縮臂節數多, 重量大, 維修難度更大。
直臂式隨車吊吊重物時, 卷筒正轉收繩, 吊鉤上升。卷筒反轉放繩, 吊鉤下降。卷筒的轉動是由液壓馬達通過卷揚箱驅動。
直臂式隨車吊的回轉運動是由回轉箱輸出軸上的小齒輪帶動回轉支承外圈的大齒輪轉動實現?;剞D支承的外圈與立柱接盤固定在一起, 內圈安裝在橫梁接盤上, 回轉箱由液壓馬達驅動。隨車吊可以連續轉動, 隨車吊連續轉動時, 需要解決上部旋轉部分油路與下部固定部分油路的連接問題, 旋轉接頭體能很好地解決這個問題。
折臂式隨車吊折疊狀態時, 要求隨車吊總寬度不能超過汽車的寬度, 所以一般橫梁為偏心結構,即隨車吊的回轉中心和汽車的中心不一致。直臂式隨車吊回轉中心和汽車中心是一致的。
折臂式隨車吊橫梁結構較直臂式隨車吊橫梁復雜, 加工難度大, 折臂式隨車吊橫梁需要加工的部位有回轉液壓缸連接法蘭及螺栓連結孔(2端) 、立柱齒輪上下軸套安裝孔、端面軸承安裝面等。直臂式隨車吊橫梁主要需要加工的部位有回轉支承安裝面和安裝孔。
直臂式隨車吊液壓系統所用油泵為齒輪泵,而折臂式隨車吊所用油泵必須為壓力高的柱塞泵。

| 折臂隨車吊結構特點 |
|
圖1 折臂式隨車吊展開狀態 1.吊鉤 2.吊臂總成 3.折疊液壓缸 4.主臂 5.連桿 6.立柱 7.變幅液壓缸 8.回轉液壓缸 9.橫梁組10.支腿機構及控制系統 圖2 折臂式隨車吊折疊狀態
圖4 折臂式隨車吊的吊臂結構示意圖 折臂式隨車吊吊臂通常由兩部分組成(小噸位隨車起重機結構簡單有所不同) 主臂和吊臂, 主臂和吊臂通過轉軸和折疊液壓缸聯結在一起, 折疊液壓缸的作用是使吊臂繞主臂轉動, 吊臂通常由固定臂和幾節伸縮臂組成, 折臂式隨車吊吊臂結構見圖4。 折臂式隨車吊吊臂由兩部分組成所以吊臂較短, 相應液壓缸行程就短, 加工難度小。 折臂式隨車吊吊臂伸縮液壓缸安裝在吊臂外部, 出現故障時(比如液壓缸接頭漏油等) 容易維修。 折臂式隨車吊吊重物時, 變幅液壓缸活塞桿縮回, 折臂式隨車吊吊臂順時針轉動, 吊鉤下降, 吊起重物, 變幅液壓缸活塞桿伸出, 吊臂逆時針轉動, 重物提升。 折臂式隨車吊的回轉運動由回轉液壓缸上的齒條帶動立柱下端的齒輪轉動實現, 轉動角度由液壓缸行程決定, 所以折臂式隨車吊不能連續回轉,一般情況下折臂式隨車吊回轉的最大角度是360°。 折臂式隨車吊折疊狀態時, 要求隨車吊總寬度不能超過汽車的寬度, 所以一般橫梁為偏心結構,即隨車吊的回轉中心和汽車的中心不一致。 折臂式隨車吊橫梁結構較直臂吊橫梁復雜, 加工難度大, 折臂式隨車吊橫梁需要加工的部位有回轉液壓缸連接法蘭及螺栓連結孔(2端) 、立柱齒輪上下軸套安裝孔、端面軸承安裝面等。 折臂式隨車吊液壓系統壓力比直臂式隨車吊壓力高。為了降低變幅缸壓力, 常采用連桿機構。直臂式隨車吊液壓系統所用油泵為齒輪泵,而折臂式隨車吊所用油泵必須為壓力高的柱塞泵。 |
重汽豪沃檢修車(大流量排水搶險車) 整車型號:CL5040TPS6ACC 現車價格美麗 底盤配置:豪華寬體駕駛室、濰柴151、160馬力、萬里揚5檔、2.0T/4.5T、700R16鋼絲胎、原廠導流罩,半包圍駕駛室內飾,液晶儀表盤,帶中控、電窗、織物座椅、氣喇叭、原廠空調,全包裹、車鑰匙遠程遙控玻璃升降!重汽豪沃檢修車(大流量排水搶險車)圖片展示:?
程力汽車公司主要銷售:冷藏車、吸污車、環衛垃圾車、吸糞車、道路清掃車、高空作業車 地址:湖北省·隨州市·南郊平原崗·程力汽車工業園 網站備案號:鄂ICP備18017768號-134
鄂公網安備 42130202001503號