微信掃碼
不僅是專業的導購
還是聊車的好伙伴
微信掃碼
不僅是專業的導購
還是聊車的好伙伴
一、湖北程力攪拌車攪拌罐的構造結構
攪拌罐體有一個檢修用人孔,用于內積聚集混凝土的清理及對罐體葉片進行檢修。 當液壓系統發生故障時,無其它救援方案,可通過打開人孔進行應急卸料。
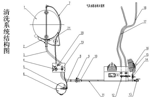
二、湖北程力攪拌車清洗結構構成
混凝土如果不能卸干凈,時間長了就會凝固。為了保持罐體容積,就要不斷及時清洗。因此,此車必須帶有清洗裝置。

1、氣壓水箱 2、水箱支架 3、進出水管 4、氣閥組件 5、球閥1 6、儲氣罐 7、氣管1 8、氣管2 9、進出水閥門 10、變徑接頭 11、水管 12、球閥2 13、球閥3 14、球閥4 15、噴頭軟管 16、噴頭 17、清洗軟管1 18、清洗軟管2 19、調壓閥 20、換向閥 21、球閥5
重汽豪沃檢修車(大流量排水搶險車) 整車型號:CL5040TPS6ACC 現車價格美麗 底盤配置:豪華寬體駕駛室、濰柴151、160馬力、萬里揚5檔、2.0T/4.5T、700R16鋼絲胎、原廠導流罩,半包圍駕駛室內飾,液晶儀表盤,帶中控、電窗、織物座椅、氣喇叭、原廠空調,全包裹、車鑰匙遠程遙控玻璃升降!重汽豪沃檢修車(大流量排水搶險車)圖片展示:?
程力汽車公司主要銷售:冷藏車、吸污車、環衛垃圾車、吸糞車、道路清掃車、高空作業車 地址:湖北省·隨州市·南郊平原崗·程力汽車工業園 網站備案號:鄂ICP備18017768號-134
鄂公網安備 42130202001503號